La pose XLock


Pour une pose réussie et sans mauvaise surprise, suivez ces quelques règles simples illustrées ci-dessous. Elles vous guideront étape par étape pour préparer votre sol dans les meilleures conditions.

Inspectez chaque lame avant la pose, elles ne doivent pas être endommagées. Si vous constatez un défaut apparent sur une lame, ne la posez pas !

Identifiez bien la rainure et la languette sur chaque lame. Elles permettent l'assemblage des lames.

Les stratifiés ne doivent être ni vissés, ni collés sur le support et laissés libre de tout mouvement. L’utilisation d’une cale de frappe n’est pas nécessaire.

Le support doit être parfaitement plan, propre et sain avec un écart maximum de 2 mm sous une règle de 2 mètres. Procédez à un ragréage si besoin.

Le support doit être parfaitement plan, propre et sain avec un écart maximum de 1mm sous un réglet de 20cm. Procédez à un ragréage si besoin.

Avant la pose, laissez le produit fermé dans leur emballage d’origine, à plat, dans la pièce de destination pendant minimum 48 heures. Respectez les températures et l’hygrométrie indiquées.

Laissez un joint de dilatation de 10 mm au passage de porte.

Ne posez jamais votre stratifié directement contre le mur. Laisser toujours un joint de dilatation de 10 mm sur le pourtour de la pièce.

Ajoutez un joint de fractionnement pour la pose en Bâton Rompu pour les pièces supérieures à 8 x 8 mètres.

Le taux d’humidité résiduelle de la chape, contrôlé à la bombe à carbure doit être inférieur ou égal à 0,5 % sur l’épaisseur totale, pour les chapes fluides ciment le taux est de 4,5 % à 4cm.

Avant la pose, nettoyez soigneusement le sol pour enlever toute poussière ou résidu. Le sol doit être parfaitement propre.

Préparez les bons outils :
- 1 crayon
- pare-vapeur (si besoin)
- colle à bois
- Cale de frappe et maillet
- 1 mètre-ruban
- 1 équerre et 1 fausse-équerre
- cales de dilatation
- 1 sous couche adaptée
- des outils de découpe (scie sauteuse, etc)
- Ne pas oubliez de porter des gants, lunettes de protection et masques (EPI)

Posez un film pare-vapeur 200 microns pour éviter les remontées d’humidité, en laissant un retour de 5 cm sur le mur.

Utilisez une sous-couche phonique ou thermique adaptée à la pose en Bâton Rompu.

La résistance thermique des revêtements de sol stratifiés Alsaflooring permet leur mise en œuvre sur sols chauffants basse température, électriques PRE (Plancher Rayonnant Électrique) et PCR (Plancher Chauffant Rafraîchissant). Respectez le protocole de pose Alsaflooring sur plancher chauffant.

À chaque installation de lame, utilisez une cale de frappe afin d'enclencher correctement le système de clic, aussi bien sur le petit côté que sur le grand côté.

Protégez votre stratifié des projections de cendres de poêles ou cheminées.

Ne posez pas le sol sous les meubles de cuisine, ni les îlots centraux. En cas de charge ponctuelle supérieure à 100 kg / cm², il est conseillé de placer des semelles de répartition de charges.


Si vous achetez un sol Water Resistant (WR), la pose en salle de bain est permise. Ne pas oublier le fond de joint et le filler sur le pourtour de la pièce dans le joint de dilatation.


Si vous achetez un sol NON Water Resistant (WR), la pose en salle de bain est interdite.

Connectez-vous à la calculatrice disponible sur notre site, pour déterminer le nombre de triangle de démarrage à façonner. Elle vous donnera aussi les dimensions des découpes des triangles en bordure de mur.

Préparer 5 lames pour former le 1er triangle.

Commencer par prendre 2 lames et emboîtez-les, selon le schéma suivant. Assurez-vous de bien respecter le sens de montage R et L.

Veillez à ce que les lames soient bien posées à fleur.

Astuce : Vous pouvez vous aider d’une lame pour vérifier le bon équerrage de la pose de ces 2 premières lames.

Puis poser les 3 autres lames de bâton rompu, en quinconce à gauche et à droite.

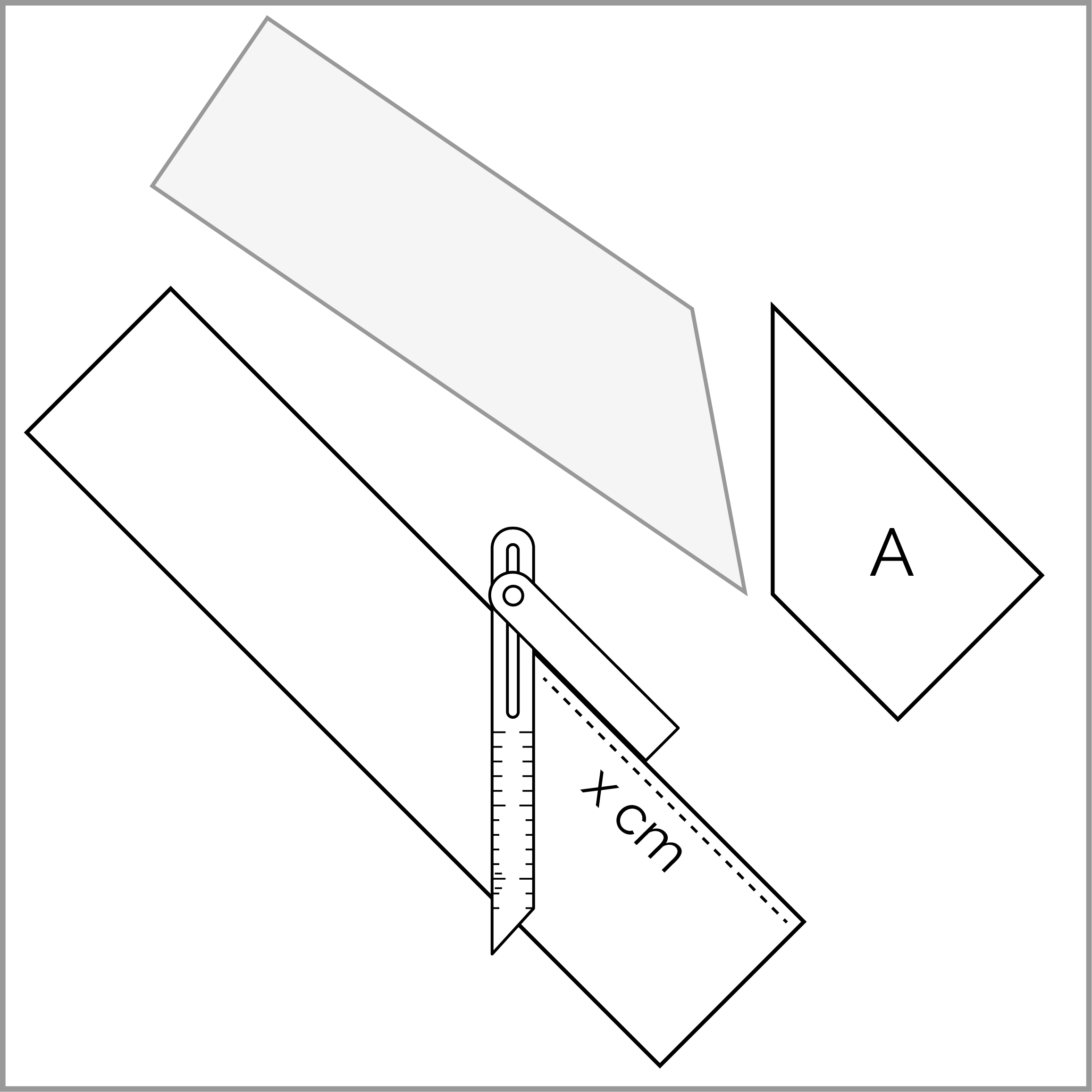
Tracer votre trait de coupe. Astuce : Placer une 6ème lame. Elle vous permettra de donner le point de départ pour tracer votre trait de découpe.

Démonter les lames en les annotant au dos. Couper chaque lame selon votre trait de coupe et remontez les dans l'ordre annoté.

COLLER chaque lame ainsi découpée, pour assurer un maintien impeccable du triangle. La colle à bois est à appliquer dans la rainure.
Essuyer le surplus de colle à l'aide d'un chiffon.
Important : collage obligatoire sur chauffage au sol.

Commencer par poser les triangles le long du mur, en laissant un jeu de dilatation de 10mm. Centrer la pose des triangles. Rappel : vous trouverez sur notre calculette le nombre de triangle à poser.

Vous pouvez également acheter des kits de triangles de démarrage, déjà façonnés et collés par Alsaflooring.
Placer les triangles uniquement sur le long du mur.

Il vous faudra ensuite procéder à la découpe des triangles en bordure de mur.
Rappel : la calculatrice vous donne les dimensions des découpes AB et CD.

Si vous ne vous servez pas de la calculette Alsaflooring, il vous faudra alors prendre les mesures vous-même. Dans tous les cas, vérifiez le bonne mesure avant de découper les triangles.

Ensuite, insérer la 1ère lame (1) dans la rainure puis abaisser-la pour la clipser (2).

Commencer par poser les rangées des lames (1).

Répéter l'opération avec les rangées des lames (2).

Il est nécessaire de COLLER les 3 premières rangée de lame pour assurer une pose impeccable du bâton rompu.
Important : collage obligatoire sur plancher chauffant.

En périphérie de la pièce, il conviendra de découper les lames. Prendre la mesure de la découpe.

Reportez-la sur la lame à découper et tracer votre trait de découpe à l'aide d'une fausse-équerre. Couper.

Installer la lame découpée le long du mur.
Répéter la même opération pour chaque rangée, à droite et à gauche du mur.
Il conviendra de COLLER ces petites lames découpées pour assurer une pose impeccable du bâton rompu.
Important : collage obligatoire sur plancher chauffant.

Au passage de porte, recoupez le chambranle si nécessaire à la nouvelle hauteur.

Découpez proprement les lames autour des tuyaux et autres obstacles, en laissant toujours un joint de dilatation de 10mm.

Une fois toutes les lames posées, retirez les cales de dilatation placées contre les murs.

Installez les plinthes (ou les profils de finition) pour couvrir les jeux de dilatation tout en laissant le sol libre de bouger.

Les accès depuis l’extérieur doivent comporter des dispositifs retenant l’humidité et les grains abrasifs amenés par les semelles et chaussures (tapis, paillasson, …).

Pour éviter une usure prématurée, les embases des pieds de meubles et de sièges sont à munir de rondelles feutres ou synthétiques.

Les sièges et meubles à roulettes doivent comporter des roulettes souples de type W.

Nous vous conseillons d’avoir recours à un entretien à sec en utilisant un aspirateur à brosse sans roulettes ou un balai.

Nettoyez le sol avec une serpillère légèrement humide et bien essorée. N’utilisez aucun produit nettoyant.

N’utilisez jamais de nettoyeur vapeur.

Pour démonter une lame, il suffit de la soulever pour la déclipser et de la retirer.